Пальто для девочек. Инструкция по пошиву
Детское легкое пальто А-силуэта с воротником-стойкой и рукавами реглан. Перед с центральной бортовой застежкой на пуговицы и обмётанные петли. Спинка со средним швом. В боковых швах оформлены карманы. Длина пальто до колен. Пальто по желанию может быть украшено вышивкой и декоративной тесьмой.
Просмотров: 14087
Размеры выкроек
с 68 по 128
Фотоотзывы 5 #patterneasy_пальтоДляДевочек
Конструктивные прибавки
- к обхвату груди 18 см,
- к обхвату талии 30 см.
Конструктивные прибавки характеризуют степень (свободу) прилегания изделия по фигуре. Эта величина уже заложена в конструкцию и дается для лучшего представления силуэтной формы.
Припуски на швы
Эта выкройка старого образца — без припусков на швы, при раскрое деталей вам необходимо самостоятельно добавить припуски. Рекомендуемая величина припусков:
- на соединительные швы — 1,5 см;
- на подгибку низа пальто — 5 см;
- по краю борта и воротника припуск не нужен, так как они окантовываются тесьмой.
Обратите внимание, что у нас также есть другие выкройки, которые уже включают припуски (обозначены двойным контуром). Выбирайте подходящий вариант в зависимости от предпочтений и опыта.
Материалы
Мягкие пальтовые ткани, джинсовая ткань, вельвет.
Расход материала
Расход ткани зависит от размера выкройки и варьируется от 0,7 до 1,4 м, при ширине не менее 1,4 м.
Также потребуется
- прокладочный материал (дублерин) — 0,5 м, при ширине 90 см;
- пуговицы — 5 штук;
- тесьма для окантовки — от 1,3 до 1,8 м (в зависимости от размера);
- швейные нитки;
- нитки для вышивания и декоративная тесьма — по желанию.
Образец выкройки
Как распечатать
Распечатать выкройку в натуральную величину можно двумя способами: на принтере (формат А4), и на плоттере. Инструкцию по печати выкройки и ответы на частые вопросы смотрите в разделе FAQ.
Спецификация
- Полочка – 2 детали;
- Спинка – 1 деталь со сгибом;
- Передняя часть рукава — 2 детали;
- Локтевая часть рукава — 2 детали;
- Подборт — 2 детали;
- Обтачка горловины спинки — 1 деталь;
- Карман — 2 детали;
- Воротник — 2 детали.
Пальто по замыслу без подкладки. Если планируете шить пальто с утеплением и/или с подкладкой, то вам нужно дополнительно выкроить из подкладочного материала детали 1 (без подборта), 2 (без обтачки), 3, 4. Деталь 7 (мешковина кармана) выкраивается из основного материала, при желании ее можно также выкроить из подкладочного.
Пример раскладки деталей на ткани
Последовательность пошива
Обработка карманов
1. На деталях полочек по боковым срезам выполнить надсечки, отступая по 1,5 см от входа в карман. Припуски заутюжить на изнаночную сторону. Срезы обметать и отстрочить на расстоянии 0,5 см от края.
2. Срезы мешковин кармана обметать. С лицевой стороны полочки наметить расположение кармана. С изнаночной стороны наложить мешковину, наметать и настрочить с лицевой стороны.
Стачивание основных швов
3. Предварительно сколоть и стачать боковые швы, верхние швы рукавов, плечевые швы обтачки и подборта.
4. Срезы обметать и разутюжить.
5. Нижний срез пальто обметать, заметать на 5 см и отстрочить по лицевой стороне (рис. 1).
Рисунок 1. Схема обработки низа пальто
Вышивка изделия (по желанию)
6. Выполнить вышивку по полочкам, рукавам и спинке.
Обработка рукавов
7. Сколоть и стачать нижние срезы рукавов. Срезы обметать и разутюжить.
8. Вколоть рукава в проймы, совмещая срезы и надсечки. Втачать рукава.
9. Срезы обметать. На нижних участках проймы (в области бокового шва) оттянуть утюгом припуски шва. Разутюжить шов.
Обработка воротника
10. Вколоть деталь воротника в горловину, совмещая надсечки с плечевыми швами и серединой горловины спинки.
11. Проклеенную деталь воротника вколоть в горловину подборта и обтачки аналогично.
12. Втачать детали воротника (ширина шва 1,5 см). Припуски подрезать до 1 см. Разутюжить швы втачивания.
13. Совместить швы горловины и проложить закрепляющую строчку (рис. 2).
Обработка борта и воротника
14. Наложить подборт с воротником на полочку с воротником изнаночными сторонами внутрь.
15. Сколоть, совмещая плечевые швы, середины горловины, крайние точки воротников, надсечки по бортам, низ полочки и подборта. Сметать и убрать булавки.
16. По лекалам полочки и воротника наметить край борта и внешний край воротника. Проложить отделочную строчку по намеченной линии за один приём. Удалить сметку. Приутюжить борт и воротник.
Рисунок 2. Схема обработки воротника
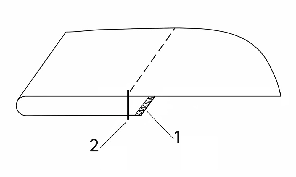
Окантовка борта
17. Тесьму или косую бейку заутюжить пополам.
18. Наложить со стороны подборта, наметать, начиная от низа пальто. Настрочить на расстоянии 0,1 см от края тесьмы.
19. Со стороны полочки наметать второй край тесьмы, перекрывая первую строчку, и настрочить (рис. 3).
20. Удалить сметку и приутюжить окантованный борт и воротник.
Рисунок 3. Обработка срезов бейкой или тесьмой
Застёжка
21. На правой стороне переда обметать петли по разметке.
На левой стороне переда пришить пуговицы.
Пальто готово.
Просмотров: 14087
Понравилась статья? Жми лайк!
20.07.2016
Понравилась статья? Жми лайк!
Подпишитесь на интересные статьи и получайте свежие новости
Самое интересное 7 дней в неделю
0 комментариев
Читайте также
Популярные комментарии
Чудесные образы, ткань с бабочками прекрасна! Спасибо за фото!
К материалу: "Пелагея" для пасторали
За день
Тина, не переживайте! Вы молодец, а такую ошибку, как сразу взяться за уровень "продвинутый", допускают многоие.
На моих сааамых первых курсах, где учила азы шитья трусов сатиновых, наша мастер помогала нам в шитье наших первых изделий, у кого халат, у кого сарафан. Приносили 1.5 метра хлопка и кроили, строчили. И тут открывается дверь и сначала входит рулон драпа, а затем девочка. Хочу шить пальто! Ей говорят, может сначала халат? Нет, халат у меня есть, а вот пальто нет. И ничего, шили всем курсом))) вышло так себе пальто, но драпа был целый рулон. Наверняка, раза с 3 вышло)))
Не останавливайтесь и не опускайте руки! Всё получится!
К материалу: По выкройке платья "Алисия"
За неделю
